Nikon AF-S N VR II 105/2G должен заменить нынешний
Nikon AF 105/2D DC:
после долгих испытаний и я готов подтвердить, что он - и классический
Nikkor Ai 105/2,5 P.C
(та же оптика и в модели "К") являются лучшими портретниками Nikon.
По красоте рисунка и удобству/точности управления результатом они далеко позади оставляют 85-е и 135-е
(Ai-s 135/2 и Ai-s105/1,8 не прошли у меня по весу: один другого ужаснее, но картинка великолепна) объективы.
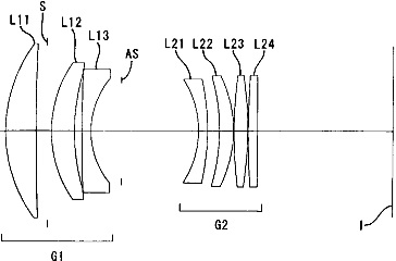
Из проекта нового портретника пропал механизм DC, которым далеко не все владельцы научились пользоваться (например - я сам; как минимум не полностью). Но появилась система векторной стабилизации изображения и ультразвуковая фокусировка. Предполагается, что фильтровой диаметр вырастет до 77мм.
Поскольку оптическая схема та же, что и в Nikon AF 105/2D DC (а она - отличная!!!), то замена DC на VR + SWM мне кажется весьма адекватной.
Nikon AF 105/2D DC:
после долгих испытаний и я готов подтвердить, что он - и классический
Nikkor Ai 105/2,5 P.C
(та же оптика и в модели "К") являются лучшими портретниками Nikon.
По красоте рисунка и удобству/точности управления результатом они далеко позади оставляют 85-е и 135-е
(Ai-s 135/2 и Ai-s105/1,8 не прошли у меня по весу: один другого ужаснее, но картинка великолепна) объективы.
Из проекта нового портретника пропал механизм DC, которым далеко не все владельцы научились пользоваться (например - я сам; как минимум не полностью). Но появилась система векторной стабилизации изображения и ультразвуковая фокусировка. Предполагается, что фильтровой диаметр вырастет до 77мм.
Поскольку оптическая схема та же, что и в Nikon AF 105/2D DC (а она - отличная!!!), то замена DC на VR + SWM мне кажется весьма адекватной.


DC жаль
ОтветитьУдалить